最近在找免备案建站机的朋友们可以看过来,六六云(666clouds)新上了一款日本软银线路的VPS,我第一时间搞了台来玩玩。这条线路是专门为咱们大陆用户优化的,实测下来速度和延迟都挺不错,非常适合不想备案又对访问体验有要求的朋友。
他们这次还推出了三款年付特价套餐,性价比直接拉满。就拿最低配那款来说,一年576块钱,给的是2核2G内存、40G NVMe硬盘和1.5TB的月流量,算下来一个月50块都不到。带宽标的是50Mbps上行/100Mbps下行,但我开出来发现上行悄悄给到了60M,老板这波挺实在。

官网地址我放这了,大家可以自己去瞅瞅:客戶中心 – 六六云 (666clouds.com)
六六云日本VPS套餐方案:
我把套餐信息都整理出来了,主打的就是一个高性价比。线路是软银直连,延迟低。这里得特别提醒一句,系统默认没给装BBR,大家到手后最好自己动手开启一下,速度能有不少提升。
年付特价
年付特价
年付特价
六六云日本VPS测评(2核2G年付特价款)
光说不练假把式,下面就是我这台2核2G小鸡的真实测评数据。先看基本信息,配置跟官方描述完全一致,这点很实在。流媒体解锁方面,奈飞是指望不上了,不过能解新加坡的TikTok和日区的ChatGPT,对有特定需求的朋友来说也算个加分项。硬盘I/O速度跑到了470MB/s左右,NVMe盘这个表现,建站绝对够用了。

(哦对了,刚开机时发现IP被识别成国内了,也就是常说的“送中”。我顺手问了下客服,他们说这个问题已经在解决了,过几天就能恢复正常,大家不必担心。)
装个宝塔面板看看,顺手跑个分。

这跑分结果,坦白说有点出乎我的意料。作为一台入门款的VPS,性能给得相当足,一点也不含糊。

接下来看看网络,先是亚洲区域内节点的测速数据。

然后是大家最关心的国内三网表现,直接上图,数据说话。

全国ping了一下,平均延迟107ms,这个数据对于日本机来说相当漂亮了,能保证网站在国内有不错的打开速度。

网络稳定性也瞅一眼,国内节点基本都是0丢包,一片绿油油,看着就安心。

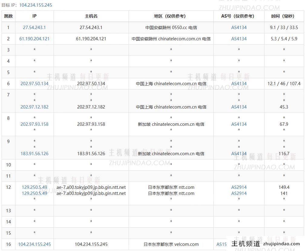
去程路由追踪测试
电信去程:

联通去程:

移动去程:

三网回程路由追踪测试
No:1/9 Traceroute to 中国 深圳 电信 (TCP Mode, Max 30 Hop, IPv4)
===================================================================
NextTrace v1.3.0 2024-04-18T06:38:21Z 2cb13be
[NextTrace API] preferred API IP - 172.67.155.192 - 206.27ms - Misaka.HKG
IP Geo Data Provider: LeoMoeAPI
traceroute to 59.36.216.1, 30 hops max, 52 bytes packets
1 *
2 *
3 *
4 *
5 *
6 *
7 *
8 203.215.236.65 AS4134 [CHINANET-FJ] 日本 东京都 东京 chinatelecom.com.cn 电信
79.83 ms
9 202.97.81.201 AS4134 [CHINANET-BB] 中国 北京 chinatelecom.com.cn 电信
81.03 ms
10 202.97.65.10 AS4134 [CHINANET-BB] 中国 江西省 南昌市 chinatelecom.com.cn
81.61 ms
11 *
12 *
13 *
14 59.36.216.1 AS4134 中国 广东 江门市 chinatelecom.com.cn 电信
87.42 ms
No:2/9 Traceroute to 中国 上海 电信 (TCP Mode, Max 30 Hop, IPv4)
===================================================================
NextTrace v1.3.0 2024-04-18T06:38:21Z 2cb13be
[NextTrace API] preferred API IP - 104.21.40.176 - 200.93ms - Misaka.HKG
IP Geo Data Provider: LeoMoeAPI
traceroute to 101.226.41.65, 30 hops max, 52 bytes packets
1 *
2 *
3 *
4 *
5 *
6 *
7 *
8 203.215.236.65 AS4134 [CHINANET-FJ] 日本 东京都 东京 chinatelecom.com.cn 电信
79.92 ms
9 202.97.43.125 AS4134 [CHINANET-BB] 中国 上海 chinatelecom.com.cn 电信
82.27 ms
10 202.97.51.162 AS4134 [CHINANET-BB] 中国 上海 chinatelecom.com.cn 电信
83.93 ms
11 *
12 *
13 *
14 *
15 101.226.41.65 AS4812 [CHINANET-SH] 中国 上海 chinatelecom.cn 电信
79.76 ms
No:3/9 Traceroute to 中国 北京 电信 (TCP Mode, Max 30 Hop, IPv4)
===================================================================
NextTrace v1.3.0 2024-04-18T06:38:21Z 2cb13be
[NextTrace API] preferred API IP - 172.67.155.192 - 201.60ms - Misaka.HKG
IP Geo Data Provider: LeoMoeAPI
traceroute to 220.181.53.1, 30 hops max, 52 bytes packets
1 *
2 *
3 *
4 *
5 *
6 *
7 *
8 203.215.236.65 AS4134 [CHINANET-FJ] 日本 东京都 东京 chinatelecom.com.cn 电信
80.02 ms
9 *
10 *
11 *
12 *
13 *
14 *
15 *
16 220.181.53.1 AS23724 [CHINANET-IDC] 中国 北京 bjtelecom.net 电信
102.07 ms
No:4/9 Traceroute to 中国 广州 联通 (TCP Mode, Max 30 Hop, IPv4)
===================================================================
NextTrace v1.3.0 2024-04-18T06:38:21Z 2cb13be
[NextTrace API] preferred API IP - 172.67.155.192 - 200.78ms - Misaka.HKG
IP Geo Data Provider: LeoMoeAPI
traceroute to 210.21.4.130, 30 hops max, 52 bytes packets
1 *
2 *
3 *
4 *
5 *
6 *
7 *
8 *
9 221.111.202.70 AS17676 [BBTEC] 中国 北京 softbank.jp
56.65 ms
10 219.158.3.145 AS4837 [CU169-BACKBONE] 中国 北京 chinaunicom.cn 联通
52.19 ms
11 *
12 *
13 *
14 120.80.170.250 AS17622 [APNIC-AP] 中国 广东 广州 chinaunicom.cn 联通
82.77 ms
15 *
16 *
17 *
18 *
19 *
20 *
21 *
22 *
23 *
24 *
25 *
26 *
27 *
28 *
29 *
30 *
No:5/9 Traceroute to 中国 上海 联通 (TCP Mode, Max 30 Hop, IPv4)
===================================================================
NextTrace v1.3.0 2024-04-18T06:38:21Z 2cb13be
[NextTrace API] preferred API IP - 172.67.155.192 - 196.43ms - Misaka.HKG
IP Geo Data Provider: LeoMoeAPI
traceroute to 112.65.95.129, 30 hops max, 52 bytes packets
1 *
2 *
3 *
4 *
5 *
6 *
7 *
8 *
9 221.111.202.70 AS17676 [BBTEC] 中国 北京 softbank.jp
49.32 ms
10 219.158.9.226 AS4837 [CU169-BACKBONE] 中国 北京 chinaunicom.cn 联通
70.46 ms
11 *
12 *
13 *
14 210.22.66.178 AS17621 [APNIC-AP] 中国 上海 chinaunicom.cn 联通
54.14 ms
15 *
16 112.65.95.129 AS17621 [APNIC-AP] 中国 上海 chinaunicom.cn 联通
52.11 ms
No:6/9 Traceroute to 中国 北京 联通 (TCP Mode, Max 30 Hop, IPv4)
===================================================================
NextTrace v1.3.0 2024-04-18T06:38:21Z 2cb13be
[NextTrace API] preferred API IP - 172.67.155.192 - 199.13ms - Misaka.HKG
IP Geo Data Provider: LeoMoeAPI
traceroute to 61.49.140.217, 30 hops max, 52 bytes packets
1 *
2 *
3 *
4 *
5 *
6 *
7 *
8 221.111.202.70 AS17676 [BBTEC] 中国 北京 softbank.jp
55.70 ms
9 219.158.3.29 AS4837 [CU169-BACKBONE] 中国 北京 chinaunicom.cn 联通
49.93 ms
10 *
11 *
12 *
13 61.49.140.217 AS4808 中国 北京 chinaunicom.cn 联通
49.33 ms
No:7/9 Traceroute to 中国 深圳 移动 (TCP Mode, Max 30 Hop, IPv4)
===================================================================
NextTrace v1.3.0 2024-04-18T06:38:21Z 2cb13be
[NextTrace API] preferred API IP - 172.67.155.192 - 264.72ms - Misaka.HKG
IP Geo Data Provider: LeoMoeAPI
traceroute to 120.233.53.1, 30 hops max, 52 bytes packets
1 *
2 *
3 *
4 *
5 *
6 *
7 *
8 223.120.2.245 AS58453 [CMI-INT] 日本 东京都 东京 cmi.chinamobile.com 移动
54.80 ms
9 223.120.14.234 AS58453 [CMI-INT] 中国 香港 cmi.chinamobile.com
57.05 ms
10 221.183.92.201 AS9808 [CMNET] 中国 安徽 合肥市 chinamobile.com 移动
57.97 ms
11 221.183.92.213 AS9808 [CMNET] 中国 安徽 合肥市 chinamobile.com 移动
89.64 ms
12 221.183.166.213 AS9808 [CMNET] 中国 湖北 武汉市 chinamobile.com
85.26 ms
13 *
14 *
15 211.136.242.174 AS56040 [CMNET] 中国 广东 广州 chinamobile.com 移动
93.83 ms
16 120.233.53.1 AS56040 [APNIC-AP] 中国 广东 深圳 chinamobile.com 移动
95.97 ms
No:8/9 Traceroute to 中国 上海 移动 (TCP Mode, Max 30 Hop, IPv4)
===================================================================
NextTrace v1.3.0 2024-04-18T06:38:21Z 2cb13be
[NextTrace API] preferred API IP - 172.67.155.192 - 214.56ms - Misaka.HKG
IP Geo Data Provider: LeoMoeAPI
traceroute to 183.194.216.129, 30 hops max, 52 bytes packets
1 *
2 *
3 *
4 *
5 *
6 *
7 *
8 210.130.133.6 AS2497 [APNIC-AP] 日本 东京都 东京 iij.ad.jp
51.21 ms
9 223.120.22.122 AS58453 [CMI-INT] 中国 上海 cmi.chinamobile.com 移动
58.67 ms
10 221.183.89.174 AS9808 [CMNET] 中国 上海 回国到达层 chinamobile.com 移动
55.30 ms
11 221.183.89.33 AS9808 [CMNET] 中国 上海 chinamobile.com 移动
55.15 ms
12 221.183.89.14 AS9808 [CMNET] 中国 上海 chinamobile.com 移动
57.87 ms
13 *
14 *
15 183.194.216.129 AS9808 [APNIC-AP] 中国 上海 chinamobile.com 移动
55.71 ms
No:9/9 Traceroute to 中国 北京 移动 (TCP Mode, Max 30 Hop, IPv4)
===================================================================
NextTrace v1.3.0 2024-04-18T06:38:21Z 2cb13be
[NextTrace API] preferred API IP - 172.67.155.192 - 203.18ms - Misaka.HKG
IP Geo Data Provider: LeoMoeAPI
traceroute to 211.136.25.153, 30 hops max, 52 bytes packets
1 *
2 *
3 *
4 *
5 *
6 *
7 *
8 210.130.133.6 AS2497 [APNIC-AP] 日本 东京都 东京 iij.ad.jp
51.80 ms
9 223.118.3.26 AS58453 [CMI-INT] 日本 东京都 东京 cmi.chinamobile.com 移动
64.78 ms
10 221.183.55.110 AS9808 [CMNET] 中国 北京 回国到达层 chinamobile.com 移动
90.16 ms
11 221.183.55.110 AS9808 [CMNET] 中国 北京 回国到达层 chinamobile.com 移动
88.17 ms
12 221.183.89.122 AS9808 [CMNET] 中国 北京 chinamobile.com 移动
95.34 ms
13 221.183.89.122 AS9808 [CMNET] 中国 北京 chinamobile.com 移动
100.40 ms
14 *
15 *
16 *
17 211.136.95.226 AS56048 [CMNET] 中国 北京 chinamobile.com 移动
124.04 ms
18 *
19 *
20 *
21 211.136.25.153 AS56048 [CMNET] 中国 北京 chinamobile.com 移动
100.66 ms
最后再附上一张更详细的性能参数汇总图,大家可以参考下,这台机器的综合性能还是相当能打的。

主机频道














评论前必须登录!
注册